


電動潤滑泵技術參數
? 額定工作壓力:≤25Mpa(可調);
? 潤滑泵額定排量:單出油口 3ml/min;
? 潤滑泵輸入電源:24VDC、220VAC、380VAC/50HZ;
? 電機功率:50W;
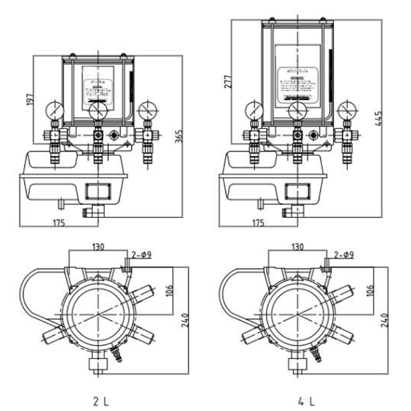
? 油罐容積:2 升、4 升、6 升;
? 使用環境溫度:-20℃---55℃;
適用介質:NLGI 000#---2#油脂,建議根據環境溫度變化,適時調整
介質黏度
系統安裝
1) 基本原則
1) 潤滑泵(站)要安裝在便于加油、觀察和維護的地方。
2) 主管路和支管路應盡可能短。條件允許的情況下,分配器盡可能靠近潤滑點安裝。
3) 系統使用前,要先將管路中充滿油脂,以排除盡管路中的空氣。
4) 各管路及控制線路應連接定位可靠,在有碰撞和接觸的部位應有保護措施。
5) 在靠近熱源的地方應使用保護措施。 注意:本潤滑系統為封閉式供油系統,在安裝時必須注意保持各元器件及管路的清潔。
嚴禁有任何雜物混入。否則,可能使潤滑系統發生故障,造成潤滑泵及分配器的損壞,甚至加速磨損潤滑副。
2) 接線示意圖:
EG 型電動潤滑泵電源接線參照電機接線盒內的示意圖連接。EG 型電動潤滑泵的殼體下方配備有一個 DIN 插座,用于電源輸入,電源接線參照下圖連接:
3) 分配器的安裝:
按照分配器安裝尺寸,先制作一安裝板,然后將安裝板固定在設備上(建議用焊接方式),最后用螺栓將分配器固定在安裝板上。加工安裝板上固定分配器的螺孔時,建議與分配器上的安裝孔配鉆定位,以減少定位誤差,方便安裝。
若設備條件允許,也可不用安裝板,直接將分配器固定在設備上。在進行焊接安裝時,注意保護分配器及行程開關中的橡膠密封和塑料件。
4) 管路的連接
? 高壓樹脂軟管
1) 將接頭外套逆時針方向旋轉,套在軟管上,并盡力旋到底。為便于安裝,可先在接頭外套內螺紋或軟管表面涂抹一層油或脂。
2) 把直通接頭芯從接頭外套的另一端順時針旋入,二者之間留有 1mm 左右間隔,如圖所示。為便于安裝,可在接頭芯前段表面沾一點油或脂。
3) 軟管兩端接頭裝好后,確認軟管未發生扭曲變形。如發現軟管有變形,請切除變形部分的軟管,并重復以上步驟正確安裝。否則,當系統正常工作,油壓升高時,軟管會在變形處首先爆裂,即使系統壓力遠未到達軟管標定的爆破壓力值。
? 硬管
1) 用銅管割刀切割銅管,保證銅管端部垂直、平整、無毛刺;
2) 把油管接頭及卡套順序分別套在銅管上;
3) 把銅管垂直插入直通(直角)接頭內,并與接頭內的止口緊密接觸;
4) 推入卡套,擰上油管接頭。感覺油管接頭著力后,將油管接頭再擰入一圈至一圈半。
5) 管路固定
用管夾將管路固定在設備的機架、梁架或其他管路上,盡可能減少懸空管路,在有碰撞接觸部位,應加以保護。
6) 電氣安裝
電控裝置一般同被潤滑設備的操作控制器等安裝在一起,也可在被潤滑設備控制系統中加入電控裝置功能,與被潤滑設備結合為一個整體。
由專業人員按電氣原理或系統接線圖將電源、控制及動力線分別與電控裝置、傳感器和潤滑泵相連,按被潤滑設備的接線規范和要求進行布線和固定。
系統調試
初次使用本集中潤滑系統前,請按照下列步驟進行系統調試:
1) 使用合適的加油工具從指定的加油口,向潤滑泵油罐內加注清潔的潤滑油脂。
2) 松開分配器進油口管接頭,啟動潤滑泵至管口有清潔的油脂輸出。
3) 接上并擰緊分配器進油口管接頭,同時松開各潤滑點油口接頭。啟動潤滑泵,直至各管口均有油脂流出。
4) 接上并擰緊各進油口管接頭,啟動潤滑泵。觀察潤滑泵運行狀況,檢查各管路接頭有無滲漏,并及時處理。
5) 啟動潤滑泵,潤滑系統應能按預定程序正常工作。
6) 關閉電源開關,潤滑系統停止工作。 注意:系統為封閉式供油系統,故在安裝和調試時必須注意各元件的清潔。異物和雜質將影響和損壞潤滑泵及分配器。
日常使用和維護保養
1. 用油品牌:-35℃至 75℃采用錐入度低于 NLGI 2# 鋰基潤滑脂,-35℃以下采用錐入度低于 NLGI 0# 鋰基潤滑脂。
注意:加入油罐的油脂必須保持清潔。
2.在運行一定時間后,要檢查所有管線和接頭有無漏油及外觀損壞,發現問題應立刻檢修,更換所受損零部件。如果一段管線需要更換,新管在安裝之前必須預先充滿潤滑脂;
3.潤滑系統的維修規定 :
A. 一般性檢查,按以上規程操作;
B. 用戶一般不要自行拆卸電動泵本體;
C. 不明故障原因或需要維修時,請及時與本公司聯系。
4.在日常的使用中應定期檢查潤滑泵貯油量,及時加注清潔的潤滑脂;
5.在給油泵補脂時,用隨機配置的手動充脂器向油罐內充入清潔的潤滑油脂;
6.在設備大修或定期維護保養時,檢查潤滑點是否存在潤滑不足或過量現象,如有,應及時給予相應的調整;
7.若設備長期不用,請將系統中的油脂清除干凈,避免因油脂變質而影響系統正常工作。 注意:在使用和維護保養中,要確保無任何雜物混入潤滑系統。否則,將會造成系統的故障和元器件的損壞。因使用不清潔的潤滑油造成的設備損壞,不在產品保修范圍內。
常見故障及排除方法
如何修復失效的泵單元:
當泵接通電源,電機運轉正常,但出油流量和壓力幾乎為零(表現為出油口油脂吞吞吐吐,用拇指即能堵住出油),說明油脂中的異物卡在單向閥閥芯 5 的密封錐面處,或積聚在閥芯底部。只需用開口起子依次取出 1、2、3、4、5,用布擦去閥芯 5 底部及密封錐面的異物,然后重新裝好,故障便可消除。具體方法
1. 按正確的方法拆下泵單元,應確保柱塞不能留在泵體內;
2. 旋下安全閥與泵單元之間的接頭體,再用一字螺絲刀插入泵單元出油口內,旋出調整座
1,依次取出調整座 1、閥彈簧 2、彈簧座 3、密封墊 4、閥芯 5 等零件,用布擦去閥芯
5 底部及密封錐面的雜物;
3. 用柴油或煤油把泵單元各部分組件清洗干凈;
4. 如果密封墊已磨損失效,更換新的密封墊,按正確的位置回裝;
5. 把泵單元裝入泵體內。
注意:以上操作應在潔凈的環境中進行。 保修范圍
正常使用狀態下,在配套主機保修時間內,本公司免費修理;下列情況,恕不免費修理:
因外力撞擊、防護不當、電壓異常等人為情況造成的故障;
未遵守“維護保養”之規定,安裝操作不當造成的損壞;
使用油脂不當,如有特殊添加劑油脂或非指定油脂(極壓鋰基潤滑脂)造成的損壞;
泵單元內置式單向閥的橡膠密封墊等易損零件等。
魯ICP備13005073號-1 煙臺鼎元機械設備有限公司 免責聲明
